2024-12-05 16:15:10
		    				入口
订单 - 发货单列表/发货统计
使用场景
此功能用于启用订单拆分应用,各发货账号处理订单时使用
操作详解
一、发货单列表
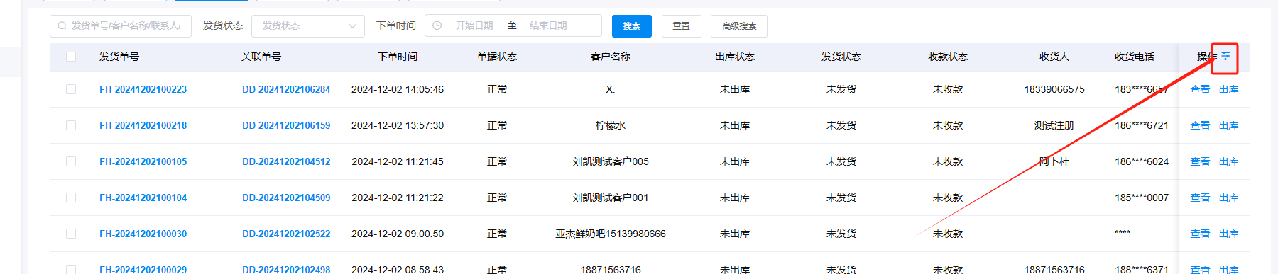
列表相关详解:订单通过拆分节点后,自动拆分给各发货账号,在发货单列表可以看到发货单号、关联单号、下单时间、出库发货状态等,同时可以自定义设置显示字段,如下图



顶部可以通过检索单号、下单时间、发货状态等信息查找发货单,高级搜索可以检索更加详细的信息


2.发货单详情操作详解:
在详情页操作出库、发货、收货、打?。ù蛴≈С侄嗔?、小票、标签)、查看打印信息、操作日志

若此该账号对应仓库缺货,支持标记缺货,标记后的商品可由管理员在订单列表中重新改派给其他发货账号出库发货

二、发货统计
已拆分订单各账号在发货统计中可以查看汇总商品数量及明细。


